点个关注 关注我们吧~ 今天大水牛又为大家整理了几个CAD的快捷键,大家一起来看看吧!【AR】阵列适合复制出比较复杂形状的图形,一般简单的可以复制命令完成的图形尽量用复制。

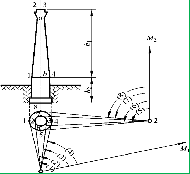
点个关注 关注我们吧~ 一、测量水平角的方法倾斜观测还可以用测量水平角的方法测定倾斜, 如下图所示就是用这种方法测定烟囱倾斜的例子。

点个关注 关注我们吧~ 上一期,我们讲了CASS中高程点的多图层、多颜色的设置,今天,大水牛再带大家了解一下,高程点文字的大小可以怎么改变!【方法一】我们再CASS软件的左上角,【文件】中找到的【CASS参数配置】。

点个关注 关注我们吧~ 首先,我们可以看到,这里已经画好了一条直线段。我们需要将它进行等分。方法一:在命令栏中输入【div】。

点个关注 关注我们吧~ 测定建筑物的倾斜有两类方法.一类是直接测定建筑物的倾斜, 该方法多用于基础面积过小的超高建筑物, 如摩天大楼、水塔、烟囱、铁塔﹔另一类是通过测量建筑物基础的高程变化, 按公式计算建筑物的倾斜。

点个关注 关注我们吧~ 今天大水牛跟大家讲一下,CASS中展高程点,如何设置多图层、多颜色。大家在测地形图时,会分开不同时间段、不同地形进行测量。那么在绘图展点的时候,也想将这些体现出来,需要怎么做呢?1、在特性管理器中,颜色,就选择默认的ByLayer。这个颜色的意思就是随层的意思。
